02. FITTING A FRAME
Table of contents
- FITTING A FRAME
- FLASHING AND INSTALLATION DETAILS
- FRAME FITTIND ISSUES (TWIST & RACK)
- ADAPTING DOOR SIZES
FITTING A FRAME

- When ordering joinery or preparing an opening, allow adequate clearance between the joinery frame & the wall structure. As a general guide, 5 to 10mm clearance horizontally & vertically is sufficient. This allows sufficient room to plumb, level & square the frame. Remember that joinery can never be loadbearing. All structural loads must be carried by surrounding framework. Where joinery is hung from the top of the frame (e.g. bifolds) the lintel must be adequate to handle the weight of the joinery as well as structural loads without any deflection.
- Check the floor is level. Where necessary, use shims to pack the sill. With pre-hung joinery shims are manipulated to ensure the joinery frame is not in twist. The door and its frame should have uniform clearances on all four sides and uniform setbacks from the face of the jamb allround to ensure the joinery frame is not in twist. A door that does not sit evenly in its jamb and that kicks out at the top or bottom is often evidence that the frame has been installed in twist.
- To check frame is not in twist, fix string from both diagonals. The strings should just touch where they cross. If strings do not touch, or if one pulls on the other, the frame has been fitted in twist.
- Fit wedges or packers between the door frame & the wall structure & ensure jambs & head are plumb. Screw fix the frame every 450mm, close to any packers or wedges. Only corrosive reistance e.g. galvanised fixings should be used. This will prevent the frame from being pulled out of plumb. Do not gun nail as it can distort the frame. Ensure frame is parallel with the door. The door stops are not fully fixed when delivered to enable them to be easily removed and replaced to conceal the frame fixings.
- Measure the two diagonals of the frame. Measurements will be equal if the frame is square. The clearance between the door and frame should be even around the entire frame (approximately 3mm, the thickness of a $2 coin). After fixing, the door stop bead is snugly fitted to the line of the door to allow a soft closing.
Pre installation care of joinery
Timber joinery must be stored in a clean, dry area away from cement, lime, paint, acid etc. and protected from loose debris such as wet or dry plaster, mortar, paint or welding splatter. It should be carried vertically with windows or sashes fixed or locked. If stored on recently poured concrete, it must be packed at least 50mm above the concrete to allow for ventilation. Joinery should receive its first sealing coat of finish within 48 hours of arriving on site and this first coat will usually not be effective in sealing the timberwork for longer than 90 days without subsequent coats being applied. When joinery is to be constructed into masonry or rendered buildings it should be completely wrapped in cling plastic film before installation (after receiving the first seal coat) to protect it from debris and spatter once installed.
FLASHING AND INSTALLATION DETAILS

FLASHING THE FRAME:
External door frames should always be flashed to prevent water intruding above and around the frame. This often disregarded necessity is responsible for the majority of water penetration problems encountered with timber joinery. Unlike some metal joinery, timber joinery is not delivered with flashing installed. It is the installer's job to ensure they are tailored to the openings to prevent water penetration. Flashing normally involves a pressed metal flashing installed over the top of the joinery frame and plastic water barriers as necessary to the sides and under the sill of the joinery frame. In high exposure areas, a metal tray is often installed under the sill to provide a more durable water barrier. In masonry surrounds, the installation of flashing on all four sides of the opening is essential to expel water and to prevent capillary flow of water into the timber from the masonry surrounds. The practice of relying solely on storm beads installed around the perimeter of joinery to prevent water ingress is rarely sufficient or reliable long term.
There are three components required in any flashing arrangement:
Head flashings : Stop the water bridging the cavity at the door or window head. They need to extend at least 150mm both sides of opening to expel water heading down the wall before it reaches the joinery item
Jamb flashings : Jamb flashings are required to channel water that enters between the jamb and the structure down to the sill flashing and out.
Sill flashings : Sill flashings must collect any water that is blown under the sill as it exits the joinery unit and must extend at least 150mm both sides of the unit to gather water redirected down by the jamb flashings.



JOINERY INSTALLATION TIPS
- Allow adequate clearance to compensate for skewed or hourglassed openings, floor bow and lintel sag.
- Preseal all faces of joinery and frame before installation, particularly those that cannot be reached after installation
- Fit flashing around all sides of every joinery unit.
- Ensure the sill is fully supported; failure to do so will result in sliding or bifolding units operating poorly.
- Back nail and screw through the studs into the joinery whenever possible, using wedges to ensure the frames are plumb and square.
- Where backnailing wedges is not possible, remove the stops and conceal fixings behind them.
- Non-corrosive fixings are required every 450mm on all four sides of each frame.
- Do not stand in the windows or doors, or use them as support for scaffolding. If throughfare is essential, build a customised protective cover to preserve the joinery underneath.
- Do not use acrylic paints (particularly for sliding items) as it will cause the items to stick rather than glide.
TIMBER FLASHING DETAILS

BRICK VENEER FLASHING DETAILS

CAVITY BRICK FLASHING DETAILS

CONCRETE BLOCK FLASHING DETAILS


1. Measure the door and frame opening.
You will require 3mm clearance (the thickness of $2 coin) to the sides and top of the door. The floor clearance will depend on your floor coverings. Trim or plane the door to fit. Do not remove more than 10mm from any edge.

2. Select hinges.
Hinges prevent the door from bowing and sagging and butt hinges are recommended as they are stronger and control the door better than the more easily installed hirline style hinge. Some high quality ball bearing hirline hinges however have equivalent strength to butt hinges so the choice can be as much about aesthetics as it is about performance. Woodworkers supplies both styles of hinge. With butt hinges, one leaf is set in a mortise cut into the side of the door and the other is similarly set into a jamb mortise. It is important that the width of the hinge be carefully chosen to allow the throw of the hinge to open the door clear of surrounding jambs or other impediments.
Parliament style hinges should never be used as they sag over time – use broad butt hinges instead. Doors that are to be painted will require more clearances than clear finished joinery and doors that are on extended butt hinges will require more space on the opening edge to allow the door to track sideways in its opening trajectory.
3. To fit butt hinges to the door ...
First choose which way you want the door to open and what side it will hinge from. Measure 125mm from the top of door on the edge that will be hinged. This mark will be the top of the hinge. Place the hinge on the door with the knuckle facing the direction that the door will open and the top of the hinge on the mark. Using the hinge as a template, mark the outline of the hinge check out. Chisel or router the hinge check out to the depth of the hinge so it finishes flush when screwed onto the door. Repeat this step for the bottom hinge, this time measuring up 200mm to the bottom of the hinge. A standard height (2040mm) door requires a third hinge in the middle of the door. Overheight doors require 4 evenly spaced hinges.



4. To check out the jambs for the hinges...
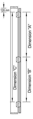
Measure down 128mm from the top inside corner of the side you will be hinging. Mark the frame; this will be the top edge of the hinge (128mm will allow 3mm clearance between the head and the door). The hinge knuckle should be facing the direction the door will open. Chisel or router the hinge check out to the depth of the hinge. Measure the distance from the top edge of the top hinge to the top edge of the middle hinge on the door (Dimension "A"). Measure down the same distance from the top edge of the frame hinge check out. Mark the frame; this is the top edge of your middle hinge check out. Repeat the process for the bottom hinge, checking the distance from both the middle hinge (Dimension "B") and the top hinge on the door (Dimension "C"). Using a wedge under the door, position the top hinge in the frame rebate and fix with a single screw. Repeat the process for the remaining hinges. Check clearances between door and frame. It should be 3mm to the sides and top. There should be adequate clearance to the floor. Fix the remaining hinge screws to the door and frame. We recommend the door should be hung as soon as possible after purchase. However, if the door must be stored then it should be stored flat in a cool dry area, not exposed to heat or sunlight. Never store on fresh or new concrete or lean it against walls for extended periods. Always fully seal the top and bottom of the door before hanging - failure to do so voids your warranty.
FRAME FITTING ISSUES (TWIST & RACK)
FRAME IN TWIST
Example of how the installation of a frame in mild twist causes doors to sit out of alignment. Doors are often interpreted as being bowed when, in fact, the problem is in the frame installation. The problem also causes downstream issues with rebated lock installation and the general functioning of the doors.


FRAME IN RACK
Example of how the installation of a frame out of square (in rack) causes doors to sit out of alignment. Doors are often interpreted as out of square when, in fact, the problem is in the frame installation. The problem also causes downstream issues with rebated lock installation and the general functioning of the doors.
Frame sitting plumb and square.
When a frame is plumb and square the clearances around the doors should be even.
Same frame racked to left.
When a frame is pushed slightly out of plumb to the left the doors will be pushed out of alignment with the left door sitting higher.
Same frame racked to right.
When a frame is pushed slightly out of plumb to the right the doors will be pushed out of alignment with the right door sitting higher.
ADAPTING DOOR SIZES
Commonly, older door openings require a door size that is not a stock or standard size. Of course, doors can be custom made to suit any situation but there are cost and time consequences. Alternatively, standard doors can often be adapted to suit a non standard frame opening by either edge stripping (for width extensions), trimming (for width and height reductions) or head blocks (for height reductions).
EDGE STRIPPING
Standard doors can be enlarged successfully by adding edge strips either as visible v.j. joints or flush joints. Where a height and width extension is required, visible v.j. style joins are preferred as they conceal movement cracks that will occur with shrinkage down the length of the stile. A visible v.j. extension looks like a picture frame around the door and will obscure any shrinkage movement in the v-joint. Flush style edge strips on the other hand are only suitable for width extensions because you cannot successfully laminate to the end grain of the stiles without movement cracks appearing. Edge stripping is common practice in the door industry and will produce a long term acceptable solution provided the correct style of strip is chosen. Where doors are to be stained or clear finished it is essential that timber of similar colour and grain is chosen for the work as it will always be possible to distinguish the lamination. Because of these limitations it is usually preferable that some light stain is applied to the door to wash the colours together and conceal grain variations.
TRIMMING
Solid timber joinery can be trimmed carefully to reduce door sizes but there are some guidelines that must be adhered to
- Stiles should not be reduced below 90mm as it increases susceptibility to twist and warp.
- Where tenons are exposed from the top or bottom rail, any trim must leave at least 15mm of timber encasing the tenon joint. This means generally that no more than 20mm can be cut from the top or bottom of a joinery door. All strength is removed from a mortice and tenon joint if a trim destroys the joint and the door can literally fall apart. This comment also applies to some hardware installations as discussed separately in FAQ 9.
- For engineered doors like Vistas or flush doors there are restrictions on the extent of trim before you will expose the inner core. With Woodworkers doors this trim usually cannot exceed 25mm to any side but a specific check is recommended with the supplier before undertaking larger size reductions.
HEAD BLOCKS
It is quite common for older houses to have doors which are slightly higher than modern metric sized doors. The problem can often be easily overcome by putting a block the same thickness as the doors into the jamb head and painting it to match the door so that it visually reads as an extension of the door when the door is closed. For external doors the head block may need to be rebated into the door to provide a weather resistant connection as illustrated. Head blocking is a cost effective way of increasing door heights to infill taller frame heights without the substantial expense of custom manufacturing.
EXTENDING THE HEIGHT BY ADDING PLINTH BOARDS
Another option for extending the height of stock doors is to increase the bottom rail size and cover the joint with a plinth board to both sides, which has the effect of increasing the visual importance of the door. For this reason, this technique is particularly suitable for entry doors.

My Account
My Wishlist
My Enquiries